Top.Mail.Ru
voronezh@dia-m.ru 8 (800) 234-05-08
+7 (473) 232-44-12
Ваш регион Москва?

Анализаторы зерна, муки, кормов, растительного масла, семян Аксессуары

Каталоги, статьи, видео
Каталоги
Фильтр
Все производители
Фильтр
Доступность
  • На складе
  • В транзите
  • В транзите и на складе
  • Все товары
12413350
Модуль монтируется под измерительный блок анализатора Infratec 1241 и измеряет бушельный вес зерна (натуру) параллельно с измерением физико-химических параметров.

Установка весового модуля возможна как на заводе Foss (при заказе в комплекте с прибором), так и на уже установленный анализатор Infratec 1241 (требуется выезд сервисного инженера). В комплект поставки включена калибровка для определения натуры пшеницы, ячменя, овса и ржи.
S900160
1 446 229 руб.
15 910,= EUR
Модуль монтируется под измерительный блок анализатора Infratec NOVA и измеряет бушельный вес зерна (натуру) параллельно с измерением физико-химических параметров.

Установка весового модуля возможна только на заводе Foss (при заказе в комплекте с прибором). В комплект поставки включена калибровка для определения натуры пшеницы, ячменя, овса и ржи.
PER088812
NEW
66 327 руб.
5 750 CNY

Сменная кювета толщиной 25 мм, предназначена для корректного измерения параметров зерна сои в приборе Inframatic 8800. Через кювету просыпается образец зерна (400 мл) и методом пропускания (transmission) ИК-света через этот поток зерна определяется содержание влаги, белка и масла в анализируемой сое.

60043564
108 431 руб.
9 400 CNY

Специальная галогенная лампа используется как источник света для монохроматора анализатора Инфратек 1241. Свет от лампы передается на монохроматор по оптоволокну. Излучение от источника света попадает на дифракционную решетку в монохроматоре, которая формирует монохроматическое излучение. Поворотом решетки создается спектр монохроматического света 570-1100 нм.

Важно устанавливать только оригинальную Лампу производства Foss, Дания, стандартизованную на заводе-изготовителе. При установке галогенных ламп других производителей угол рассеивания света, и соответственно, результаты измерений будут ошибочны.

Средний срок службы галогенной лампы 12 месяцев (в зависимости от интенсивности измерений).

Порядок замены галогенной лампы

  • Выключите анализатор зерна Infratec 1241. Отключите его из сети.
  • Крышка блока лампы расположена на верхнем ребре охлаждающего фланца с тыльной стороны инструмента. Прилагаемым 3 мм торцевым ключом отвинтите два винта, крепящих крышку блока лампы.
  • Осторожно потяните крышку блока лампы вверх, вытягивая блок лампы и кабель.
  • Указательным и большим пальцами осторожно вытяните лампу из соединителя.
  • Вставьте в соединитель новую лампу.
  • Установите на место блок лампы.
  • Прилагаемым 3 мм торцевым ключом завинтите два винта, крепящих крышку блока лампы.
  • После замены лампы, дайте ей прогреться по меньшей мере 2 часа.
60078593
56 522 руб.
4 900 CNY

Все приборы для анализа методом инфракрасной спектроскопии оборудованы галогеновой лампой, которая необходима дляих работы, поэтому важно, чтобы она всегда была в исправном и рабочем состоянии.

Специальная галогеновая лампа используется как источник света для монохроматора анализатора NIRS DS2500, NIRS DS2500F, NIRS DS3, NIRS DS3 F. Свет от лампы передается на монохроматор по оптоволокну. Излучение от источника света попадает на дифракционную решетку в монохроматоре, которая формирует монохроматическое излучение. Поворотом решетки создается спектр монохроматического света в диапазоне 400-2500 нм или от 800 до 2500 нм. Измеряя энергию, проходящую через образец, можно определить ее химический состав.

Важно устанавливать только оригинальную Лампу 12 В 35 Вт производства Foss, Дания, стандартизованную на заводе-изготовителе. При установке галогеновых ламп других производителей угол рассеивания света, и соответственно, результаты измерений будут ошибочны.

Средний срок службы галогенной лампы 12 месяцев (в зависимости от интенсивности измерений).

Замены лампы производятся через одну панель прибора.

Лампа легко извлекается и заменяется, для этого не требуется специальных инструментов и навыков.

60066680
449 216 руб.
5 750,= USD
Модуль служит для правильного заполнения кювет для муки перед её анализом на приборе Infratec 1241 и не нуждается в установке.

При заказе в комплекте с прибором, установка калибровки на муку осуществляется на заводе Foss. При заказе модуля дополнительно к уже установленному прибору Infratec 1241 калибровка может быть установлена пользователем самостоятельно (выезд сервисного инженера необязателен). В стоимость модуля также включена калибровка для анализа муки (влажность, протеин, зола).

Также к модулю можно заказать дополнительную калибровку, которая позволяет измерять в муке следующие параметры: влажность; протеин; зола; клейковина; водопоглотительная способность муки.

Кюветы приобретаются отдельно.
S900161
802 561 руб.
8 829,= EUR
Модуль служит для правильного заполнения кювет для муки перед её анализом на приборе Infratec NOVA и не нуждается в установке.

При заказе в комплекте с прибором установка калибровки на муку осуществляется на заводе Foss, при заказе модуля дополнительно к уже установленному прибору Infratec NOVA калибровка может быть установлена пользователем самостоятельно (выезд сервисного инженера необязателен).

В стоимость модуля также включена калибровка для анализа муки (влажность; протеин; зола).

Также к модулю можно заказать дополнительную калибровку, которая позволяет измерять в муке следующие параметры: влажность; протеин; зола; клейковина; водопоглотительная способность муки.

Кюветы приобретаются отдельно.
12413370
Модуль устанавливается над измерительным блоком анализатора Infratec 1241 и осуществляет автоматическую подачу кювет в измерительную ячейку. Для проведения анализа, подсолнечник необходимо размолоть и засыпать в кювету.

Установка транспортного модуля возможна как на заводе Foss (при заказе в комплекте с прибором), так и на уже установленный у клиента анализатор Infratec 1241 (требуется выезд сервисного инженера).

В стоимость модуля также включена калибровка на подсолнечник (влажность, масличность).

Кювета приобретается отдельно.
S900162
Модуль устанавливается над измерительным блоком анализатора Infratec NOVA и осуществляет автоматическую подачу кювет в измерительную ячейку.

Для проведения анализа подсолнечник необходимо размолоть и засыпать в кювету.

Установка транспортного модуля возможна как на заводе Foss (при заказе в комплекте с прибором), так и на уже установленный у клиента анализатор Infratec NOVA (требуется выезд сервисного инженера).

В стоимость модуля также включена калибровка на подсолнечник (влажность, масличность).

Кювета приобретается отдельно.
S800120
726 559 руб.
9 300,= USD

Модуль натурной массы (TWM)

Модуль натурной массы обеспечивает автоматическое точное и быстрое определение объемного веса зерна. Это выполняется одновременно с определением прочих составляющих в Infratec 1241. Результаты оценки натурной массы и прочих параметров, таких как влажность и содержание белка, предоставляются в течение одной минуты. В зависимости от типа зерна необходимы разные настройки. Параметры модуля натурной массы обрабатываются как любые другие параметры, следовательно, требуют настройки модели прогнозирования в Mosaic.

Модуль натурной массы имеет встроенный тензометр, измеряющий массу фиксированного объема цельного зерна без подготовки образца.

После установки модуля натурной массы он становится неотъемлемой частью Infratec 1241, и обработка зерна выполнятся полностью в автоматическом режиме.

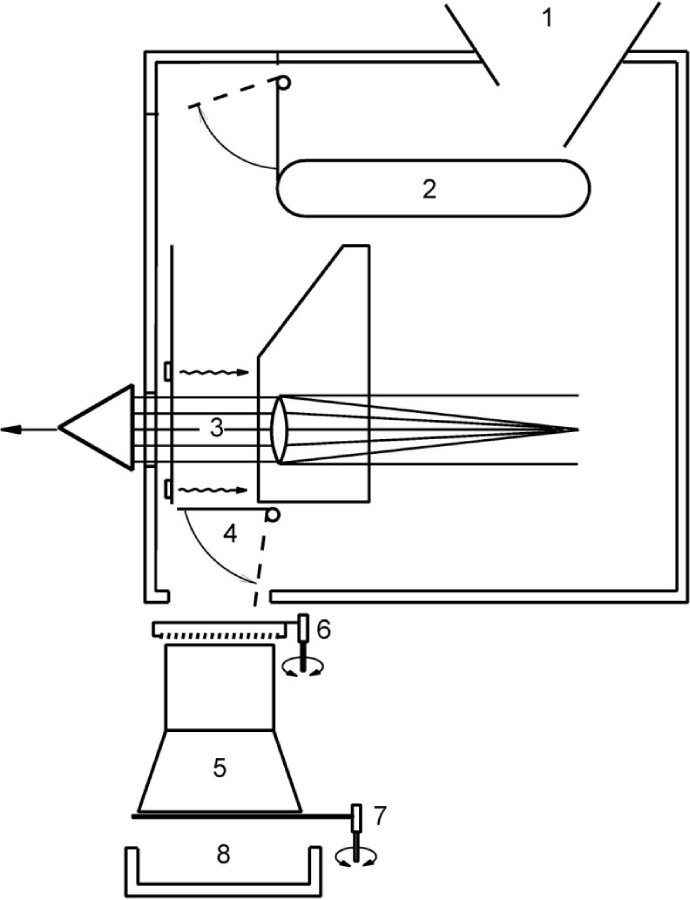
Описание системы

На Рис. 1 изображены Infratec 1241 и модуль натурной массы как единая система.


После установки модуля натурной массы он становится неотъемлемой частью Infratec 1241, и обработка зерна выполнятся полностью в автоматическом режиме.
1 Высыпная воронка
2 Устройство для транспортировки образца
3 Ячейка для образца
4 Нижняя створка
5 Испытательная ячейка
6 Контактный рычаг
7 Створка
8 Ящик для приема образца
Рис. 1 Описание системы

  • Зерно помещается в высыпную воронку (1) Infratec1241.
  • Определяется собственный вес испытательной ячейки (5).
  • Конвейер в устройстве для транспортировки образца (2) доставляет субпробы в ячейку для образца (3), где происходит анализ в ближнем ИК-диапазоне.
  • После анализа каждой субпробы открывается нижняя створка (4) ячейки для образца, и зерно высыпается в испытательную ячейку (5) модуля натурной массы.
  • Датчик реагирует на заполнение испытательной ячейки, и анализ оставшихся субпроб временно приостанавливается.
  • С помощью контактного рычага (6) поверхность образца в испытательной ячейке выравнивается для обеспечения качественного уплотнения и правильного объема образца.
  • Затем вес зерна в испытательной ячейке определяется как разница между полным измеренным весом и собственным весом ячейки, после чего Infratec выполняет все необходимые расчеты и корректировки.
  • После этого створка (7) в нижней части испытательной ячейки открывается, и зерно высыпается в ящик для приема образца (8).
  • Возобновляется анализ оставшихся субпроб (зерно из этих субпроб попадает непосредственно в испытательную ячейку).
  • Затем на ЖК-экране Infratec 1241 отображаются результаты анализа в ближнем ИК-диапазоне и натурная масса.

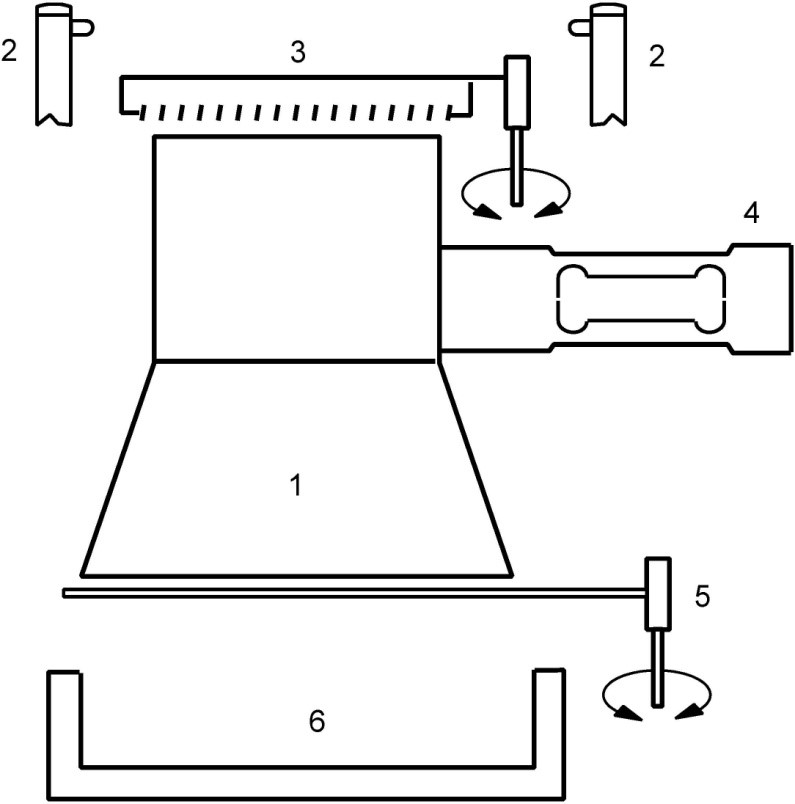
Принцип работы

  • В модуле натурной массы используется испытательная ячейка (1) фиксированного объема (см. Рис. 2).
  • На верху испытательной ячейки находится детектор (2), срабатывающий при заполнении испытательной ячейки.
  • Когда испытательная ячейка заполнена, к Infratec 1241 поступает сигнал на временную приостановку анализа (и в испытательную камеру больше не поступает зерно).
  • Затем поверхность образца в испытательной ячейке выравнивается контактным рычагом (3), установленным в верхней части испытательной ячейки.
  • После этого образец взвешивается с помощью тензометра (4).
  • Тензометр состоит из тензоэлемента (штанги) с датчиками деформации, закрепленными на его поверхности.
  • Датчики информации по сути представляют собой тонкие проволочки. Когда проволочки подвергаются нагрузке (растяжению или сжатию), изменяется их электрическое сопротивление.
  • Каждый анализ начинается с измерения собственного веса.
  • При загрузке зерна в испытательную ячейку, нагрузка на штангу тензометра изменяется, и изменяется электрическое сопротивление датчиков деформации. Это изменение можно измерить и на его основе рассчитать вес.
  • После взвешивания образца нижняя створка (5), ведущая в испытательную ячейку, открывается, и зерно высыпается в ящик для приема образца (6).

После установки модуля натурной массы он становится неотъемлемой частью Infratec 1241, и обработка зерна выполнятся полностью в автоматическом режиме.
1 Испытательная ячейка
2 Детектор
3 Контактный рычаг
4 Тензометр
5 Нижняя створка
6 Ящик для приема образца
Рис. 2 Принцип работы
Micral тм_расходка_аксессуары

Расходные материалы для анализатора элементного состава кормов и фуража Micral LIBS.

Состав комплекта:
  • микростандартизация 250 г;
  • дозирующий лоток в сборе, контейнер для проб, 1000 шт.;
  • пресс-вал Ø14 мм;
  • сухие ткани;
  • мерная ложка Т-образной формы объемом 1,5 мл;
  • мерная ложка 0,75 мл Т-образной формы;
  • влажные салфетки;
  • кассета в сборе.

Характеристики кассеты автосамплера

Кассета автосамплера емкостью 60 образцов, загружается в Micral LIBS для безостановочной работы в течение 60 минут.


Характеристики дозирующего лотка

Контейнеры для образцов помечены QR-кодом, позволяющим однозначно идентифицировать каждый из них.

Гранулированный образец, предназначенный для размещения в дозировочном лотке, можно разместить только в одном направлении. Это гарантирует, что лотки всегда расположены в правильном направлении, что упрощает сканирование QR-кода.

Контейнеры для проб изготовлены из алюминия и могут использоваться только один раз.

Ваш заказ будет обработан
в ближайшее время.
Мы пришлем уведомление, как только все будет готово. Спасибо!